level architecture of the proposed frequency synthesizer Circuit Diagram Analog synthesizers are very cool, but also quite difficult to make. So I wanted to make one as simple as it can get, so its functioning can be easily understandable. For it to work, you need a few basic sub-circuits: A simple oscillator with resistor selectable oscillating frequency, some keys, and a basic amplifier circuit.

11:00 - 12:30 Basic Concepts - Linearity , noise figure, dynamic range 2:00 - 3:30 RF front-end design - LNA, mixer 4:00 - 5:30 Frequency synthesizer design I (PLL) T d J l 22 2008Tuesday, July 22, 2008 9:00 - 10:30 Frequency synthesizer design II (VCO) 11:00 - 12:30 RFIC design for wireless communications The frequency-divider modulus N have value between 3 to 999 with single steps increment. In locked condition, the comparator and signal are at same frequency that f=N*1kHZ.So we have a frequency synthesizer with 3KHZ to 999 KHZ range with 1-KHZ increment, which can be programed by the switch position of the divide-by-n counter. This circuit

PDF How to Design RF Circuits Circuit Diagram
Frequency synthesisers form the basis of most radio system designs and their performance is often key to the overall operation. This paper will present an introductory overview of the basic parameters governing the design of a phase locked loop frequency synthesiser and their effects, with the sources of phase noise within a design also being

The key to turning a timer circuit into a proper wave generator is to realize that its output frequency is a function of the resistances and capacitance of its components. As usual Ben Eater has a terrific explanation of this topic which you can find here. In particular, if we vary the resistance ๐ 1 R 1 of the circuit, we will vary its

PDF Design and Simulation of Frequency Synthesizers Circuit Diagram
The actual design is best done with the computer program. A more complex filter as an application is shown in Figure 4. Fig. 4 โ Phase/frequency comparator and loop for the 72 to 92 MHz frequency synthesizer. A detailed overview on how to design a synthesizer is found in the book, Microwave and Wireless Synthesizers: Theory and Design, Fractional-N Frequency Synthesizer PFD Charge Pump N sd[m] ref(t) out(t)e(t) div(t) ฮฃโฮ Modulator v(t) N[m] Loop Filter Divider VCO Focus on this architecture since it is essentially a "super set" of other synthesizers, including integer-N and fractional-N-If we can design and simulate this structure, we can also The synthesizer that we will be designing was extremely common back in the day. It's known as a 1V/Octave synthesizer. This means that for every 1V increase on the input, the output frequency will go up by one octave (i.e., by a factor of 2). Now for this module to work correctly, it needs an exponential converter on the input.

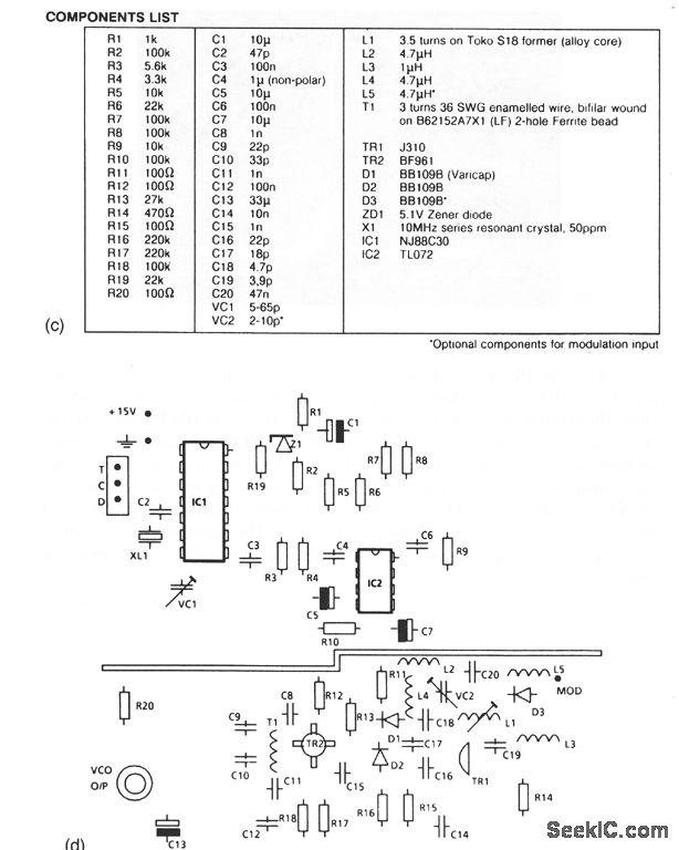
synthesizer consists of a few standard functions found on a commercial synthesizer. The circuits are constructed with price as a driving consideration. The documentation include a discussion about 5 Design Basics 21 frequency and resonance can often be controlled by a control voltage signal. This can come from Output of frequency synthesizer can be obtained by either fixing Fr and varying N or varying Fr and fixing N. The RF synthesizer design example mentioned below is for the second case. Channel spacing=Fvco/N or Fr/R. Frequency synthesizer components functions/working. Let us understand functions of various components of frequency synthesizer.